您身边的轴承方案解决专家
全国咨询热线
电子信箱
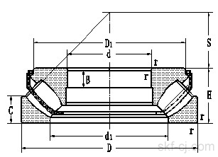
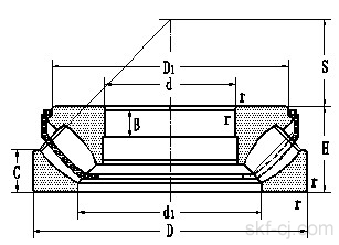
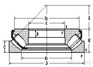
轴承型号:
轴承品牌:
轴承类型:
内径:
外径:
厚度:
推力调心滚子轴承
向心推力球轴承
角接触球轴承
电话:13764105678
邮箱:1926001269@qq.com
地址:上海市奉贤区肖湾路511号2幢3层
扫一扫,加微信